Zum Hauptinhalt springen Zur Suche springen Zum Menü springen

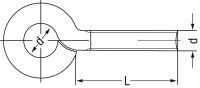
Ösenschraube Art. 48 M 6 x 40 verzinkt VPE 100

49,18 €
inkl. 19% USt.
BESTELLWARE
  • Sofort verfügbar
Stk