Zum Hauptinhalt springen Zur Suche springen Zum Menü springen

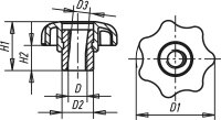
Schnellspann-Sterngriff Kipp Innengewinde, M 6 1 Stück

9,00 €
inkl. 19% USt.
BESTELLWARE
  • Sofort verfügbar
Stk