Zum Hauptinhalt springen Zur Suche springen Zum Menü springen

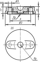
Teller für Gelenkfüße Kipp DRM80 Form D Kunststoff/ Anti-Slip

7,39 €
inkl. 19% USt.
BESTELLWARE
  • Sofort verfügbar
Stk